Sklopka naizmenična

Tehničke karakteristike

Sklopka naizmenična
16AX 250V~ 2M


16AX 250V~
Usaglašeno sa standardom
SRPS EN 60669-1
Vijčano pričvršćivanje provodnika preseka
1,5-2,5mm2



ART.733701
ART.733702
ART.733703
ART.733704

pak: 20

Signal bela Toplo bela Antracit Gliter siva

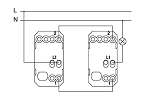
Shema vezivanja